
瑞财经 李兰8月2日真牛所配资真牛所配资,据中国证券报,智元机器人已于近日完成新一轮战略融资真牛所配资,该轮投资由LG电子、未来资产集团联合投资。同时,此次投资为LG电子在具身智能领域的首次投资布局。
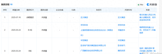
天眼查信息显示,截至目前,智元机器人已完成10轮融资,此前获得腾讯、京东、比亚迪、上汽、北汽、TCL等多家产业资本投资。
天眼查显示,智元创新(上海)科技有限公司成立于2023年2月,注册资本8263.67万元,法定代表人邓泰华。其实控人为邓泰华,拥有30.69%表决权。
智元机器人成立于2023年2月,联合创始团队由具有丰富产业经验的全球知名企业核心高管、人工智能领域科学家等多位业内资深人士共同组成。
智元机器人构建了领先的机器人“本体+AI”全栈技术,拥有远征、精灵、灵犀三大机器人家族,产品覆盖多种商用场景。2025年1月,智元机器人的第1000台通用具身机器人正式量产下线,刷新行业记录。
海量资讯、精准解读,尽在新浪财经APP
责任编辑:王其霖 真牛所配资
贵丰配资提示:文章来自网络,不代表本站观点。